由SiCV公司首席设计工程师Raj Dabholkar和业务发展经理Suhas indukar撰写
这些部件通常用作制动阀,防止hst过载。
传统的液压阀正在被更时尚、更轻、更耐用的插装阀所取代。与传统阀门的外部管道不同,这些液压集成电路(HICs)可以直接安装到内部连接阀门的机加工歧管中,从而省去不必要的管道、软管和配件。由于每个配件提供两个潜在的泄漏点,液压机械操作的基本原则以更高的标准得到维护。
与传统的体内部件式阀门的许多选项一样,插装式阀门表现出自己无数的形式,从简陋的止回阀到最先进的比例电磁方向控制阀。
然而,对于任何液压执行器来说,救生装置都是超中心阀。这种运动控制奇迹是平衡阀的继承者。平衡器这个名字来源于早期机床中用来防止滚珠丝杠承受重载的平衡砝码。这些阀门是在30年代早期由Harry Vickers的团队设计的,他们将其开发为阀芯型阀门,因此没有发现零泄漏。
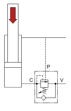
当平衡阀维持一个健康的背压量时,它们迫使泵在执行器移动之前形成平衡弹簧上的全套压力。如图1所示,一个平衡阀连接到气缸的全孔(盖端)区域,并设置为150bar,在零负载时,将迫使泵在环空(杆端)区域形成300bar的压力,然后才允许气缸移动(如果环空区域是全孔的一半)。
反过来,超中心阀所做的是使用从执行器的另一端的先导辅助移动锥对弹簧。超中心阀可以被描述为一个带有整体自由流量止回阀的先导辅助安全阀。当安装到执行器中时,无论执行器是线性(气缸)还是旋转(液压马达)执行器,超中心阀的性能都是最好的。然而,如果不是,它们应该连接到执行器与刚性管道。
在这里必须注意先导操作的止回阀和先导辅助的安全阀之间的差异。当先导操作的止回阀在先导端口形成足以打开锥阀的压力时就会完全打开,在过中心阀的情况下,先导压力必须克服强大的弹簧。由于负载的重量,弹簧的力被同时作用在气缸端口上的压力所降低。简而言之,在先导操作的止回阀中,先导压力和负载压力相互作用,而在先导辅助的溢流阀中,它们对弹簧的作用方向是相同的。这将逐渐打开poppet,使流量到仪表。
超中心阀主要用于以下用途:
负载控股:当换向阀处于空挡位置时,过中心阀防止负载移动,允许使用打开的中心换向阀,并防止泄漏超过关闭中心换向阀的阀芯。
负载控制:超中心阀防止执行器由于负载引起的能量而运行在泵的前面,从而消除执行器中的空化和失控。
负载安全:在软管失效的情况下,安装在气缸上或气缸内的偏心阀将防止负载不受控制的移动。当钢瓶用于吊臂时,如在起重机中,软管失效保护是至关重要的,因为失去负载控制可能会造成人员或财产损失。
对大多数应用来说,超中心阀的溢流设置是一个常识和判断问题。在负载变化剧烈且预期会有突然冲击载荷的情况下,泄压压力可能比负载压力大20-30%。然而,对于水平汽缸,这一比例可能低至5-10%。这确保在执行器上的最大负载下,阀门将保持关闭,直到先导压力施加。开启阀门所需的先导压力取决于先导比,即溢流面积与先导面积的比值。先导压力可计算如下:
先导压力=阀门整定-负载压力/先导比
图2为两种不同先导比的阀的压降曲线。高导比阀比低导比阀的限制更大。这表明,在一定压力以上,较低的先导比阀比较高的先导比阀效率更高。在指定超中心阀之前,必须考虑到总体性能。
图2:流量与导频比的关系。在一定压力以上,较低的先导比阀比较高的先导比阀效率更高。
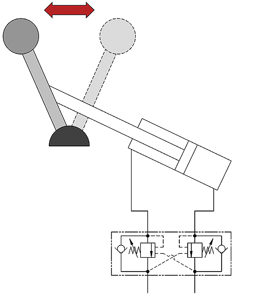
为了解释超中心阀的需求,最好的例子是一个倒摆,如图3所示。在这里,一个圆柱体连接在一个摆上,摆的末端有负载。圆柱体的收缩和伸展帮助钟摆前后摆动。为了在钟摆上升的过程中把它从一端推到另一端,圆柱体的作用与负载和重力相反——因此,在泵驱动负载的情况下,钟摆始终处于控制状态。
图3:假设的倒立摆是需要一个超中心阀的最好例子。
当钟摆越过它的重心并开始下降时,负载就会变得不平衡,因为钟摆试图比圆柱体允许的速度移动得更快。现在负载最终驱动泵,因为负载和重力作用的方向与气缸相同。在这里,超中心阀将通过计量气缸流出的流量来调节气缸的运动,从而始终保持对负载的控制。
图4:过中心阀不应该连接到堵塞的中心方向控制阀。如果突然切换到区块中心(1)或由于流体温度上升(2)而产生压力峰值,流体无处可逃,最终可能导致软管破裂、设备损坏甚至危及操作人员的生命安全。
由于反向重复该场景,在相反的线路上出于同样的原因需要第二个超中心阀。在这种情况下,使用双超中心阀,它调节气缸两端的流量。
双超中心阀也用于大型土方设备的履带轮(图5),这些设备需要爬上陡峭的斜坡。设备需要能够在陡峭的斜坡上向前和向后移动。在下降的斜坡上向前移动,在上升的斜坡上倒车,机器分别倾向于向前或向后滚动。双超中心阀连接到液压马达,通过控制两个方向的油向外流动来防止负载跑掉。然而,停车间隙是旋转执行器必须的。
图5:有些情况下,在斜坡上的移动设备可能会失去控制,因为对轨道车轮的控制不充分。在斜坡上倒车和在斜坡上前进会导致负载跑掉。
超中心阀也用于液压马达的应用,如绞车,如图6所示。在提升负载时,绞车的卷绕与重力相反,这导致泵驱动负载。然而,当下降时,负载和重力作用在同一个方向。这将导致负载流失和可能的失控。在这里,超中心阀测量液压马达流出的流量,以保持负载到位。
图6:绞车在降低负载时,天生就需要过载阀来防止负载失控。然而,这并不是一种将负载固定在适当位置的故障安全方法。应该安装一个停车刹车,以防止负载严重下降。
超中心阀通常安装在线性执行器的瓶盖上,也可以安装在执行器和阀门之间的刚性管道上。所述阀的气缸口与执行机构的一端连接,所述阀口与换向控制阀连接。先导口连接到执行器的另一端。
在图7中,油缸必须根据负载的重量进行扩展——油通过延伸活塞的止回阀流到盖端,而另一端则排出油。对于缩回,超中心阀限制油流出帽端,导致另一端的压力上升。这种压力在超中心阀的先导口被感知,在负载诱导压力的辅助下,压缩弹簧,使油从盖端得到一个出口。
图7:使用线性执行器操作偏心阀。
如果负载跑掉,从帽端流出的流量将增加,使油杆端缺乏油,导致压力下降。因此,先导压力将不再高到足以保持弹簧压缩。这就切断了从气缸中流出的流体。通过这种方式,负载和它的运动将通过连续计量从气缸流出的流量来控制。
与任何液压阀一样,总有功能上的变化。overcenter也一样。这种阀门有两种类型的安全阀设计。一种是直接作用式溢流阀,具有响应快、零泄漏的特点。另一种是差值过中心区域,它提供了更高的流动能力(>300 lpm),但复位特性较差。
与比例阀一起使用的超中心阀需要完全平衡,并允许下游压力较高,而不影响减压弹簧设置。
注意:Overcenter阀是负载控制阀,仅适用于线性执行器(气缸)。这是因为电机内部固有的泄漏-电机的转子总是有泄漏从高压区到低压区。
为了控制一个旋转执行器,一个驻车制动与帮助一个穿梭阀,一个弹簧负载气缸,也许是一个减压阀是强制性的。任何一条线路上的压力都将被梭子阀感知,保持驻车制动脱离。当两条管线中的压力为零时(当阀门处于空挡位置时),压力停止抑制驻车制动缸中的弹簧,并使其与液压马达啮合,停止其运动。
另一点需要注意的是,偏心阀永远不应该连接到中心阀芯堵塞的方向控制阀。阀门的空挡位置应该始终是浮子中心结构。这将使空挡位置的先导压力降至零,确保活塞能正确复位。这也意味着阀门可以作为热救济,甚至可以消除不必要的压力在气缸端口。
图森Hydrocontrols
www.tucsonhydrocontrols.com
了下:流体动力,阀门


你好先生,
偏心阀不工作,这是液压缸的分流